Вентилятор канальный круглый VC-TC
Описание
- Вентиляторы канальные
- Компактная конструкция для круглых воздуховодов
- Применение:
- в качестве подпора воздуха в системах противодымной защиты
- Монтаж в любом положении
Конструктив
- Корпус из оцинкованной стали
- Мотор-колесо из алюминиевого сплава
Двигатель
- Однофазный электродвигатель 220В
- Класс защиты электродвигателя IP 54
- Возможность регулирования скорости
- Термоконтакты двигателя вентилятора вынесены в клеммную коробку, что позволяет применять вентиляторы в противодымной вентиляции на подпор воздуха
- Биметаллическая защита двигателя
Условия эксплуатации
- Климатическое исполнение по ГОСТ 15150-69: У3. Может ограниченно эксплуатироваться на улице (в местах, защищенных от прямого воздействия струй воды и пылевых потоков, например под навесом)
- Температура окружающей среды от -40°С до +40°С
- Температура перемещаемой среды от -40°С до +50°С (с относительной влажностью воздуха не более 60%)
- Перемещаемая среда не должна содержать:
- пары и газы с агрессивностью к металлам, покрытиям и изоляции выше агрессивности воздуха
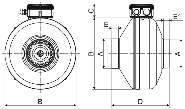
Габаритные и присоединительные размеры, мм

|
Модель |
A |
B |
C |
D |
E |
Е1 |
|
VC-160-TC |
160 |
332 |
47 |
232 |
26 |
26 |
|
VC-200-TC |
198 |
332 |
47 |
228 |
26 |
26 |
|
VC-250-TC |
248 |
332 |
47 |
217 |
30 |
25 |
|
VC-315-TC |
315 |
402 |
48 |
255 |
26 |
26 |
Технические характеристики
|
Модель |
Напряжение/ частота, В/50Гц |
Число фаз |
Потребляемая мощность, кВт |
Ток, А |
Частота вращения, об/ мин |
Масса, кг |
Регулятор скорости* |
|
|
VC-160-TC |
220 |
1 |
0,115 |
0,5 |
2550 |
5,2 |
СРМ 250W |
СРМ 500W/M |
|
VC-200-TC |
220 |
1 |
0,150 |
0,7 |
2600 |
6,0 |
||
|
VC-250-TC |
220 |
1 |
0,20 |
0,9 |
2500 |
6,5 |
- |
|
|
VC-315-TC |
220 |
1 |
0,28 |
1,3 |
2500 |
7,9 |
||
* Подробная информация по регуляторам скорости представлена в разделе «Регуляторы скорости».
Шумовые характеристики
|
Модель |
Зона измерения |
Общий, дБА |
Уровень звуковой мощности, дБ в октавных полосах частот, Гц |
|||||||
|
63 |
125 |
250 |
500 |
1000 |
2000 |
4000 |
8000 |
|||
|
VC-160-TC |
в канал |
74 |
52 |
60 |
67 |
71 |
65 |
62 |
60 |
50 |
|
к окружению |
59 |
29 |
38 |
37 |
56 |
55 |
49 |
47 |
37 |
|
|
VC-200-TC |
в канал |
73 |
56 |
59 |
67 |
67 |
66 |
64 |
60 |
53 |
|
к окружению |
58 |
41 |
37 |
43 |
48 |
56 |
48 |
43 |
36 |
|
|
VC-250-TC |
в канал |
74 |
54 |
60 |
67 |
66 |
67 |
67 |
63 |
55 |
|
к окружению |
53 |
39 |
32 |
35 |
46 |
49 |
48 |
44 |
32 |
|
|
VC-315-TC |
в канал |
77 |
56 |
59 |
67 |
67 |
71 |
72 |
68 |
66 |
|
к окружению |
56 |
35 |
24 |
34 |
43 |
50 |
53 |
48 |
41 |
|
Электрические схемы подключения вентиляторов


Не представленные в наличии модели доступны к поставке под заказ
Оповестить о поступлении
Всю необходимую информацию также можно получить по телефону «горячей линии»
+ 7 800 200 93 96или по телефону
+7 800 505 08 67 получить консультацию